Some of the most beautiful work of this craftsman, and many others, are in this book “Liège Gunmakers through their Work. 1800 - 1950”.
For more detail see: LIEGE GUNMAKERS
Bilak Martin
This is
an elegant and light rifle according to its owner. The weapon is quite unusual
with its original safety system, of Belgian origin, hammerless and equipped with
a trigger guard with scrolls. Its caliber is .22 short.
Markings:
Made in
Belgium, under the barrel.
186,
serial number, under the barrel.
Perron,
punch of the inspector of the B.E. (valid from 16.06.1853 to the present day).
C under
star, punch of the controller from January 27, 1877.
R
crowned, rifled barrel, since 1924 for small caliber rifles.
22 C,
caliber.
ELG on
star in crowned oval, proof mark after 1893.
MB,
manufacturer marking Martin BILAK, who produced "safety" rifles
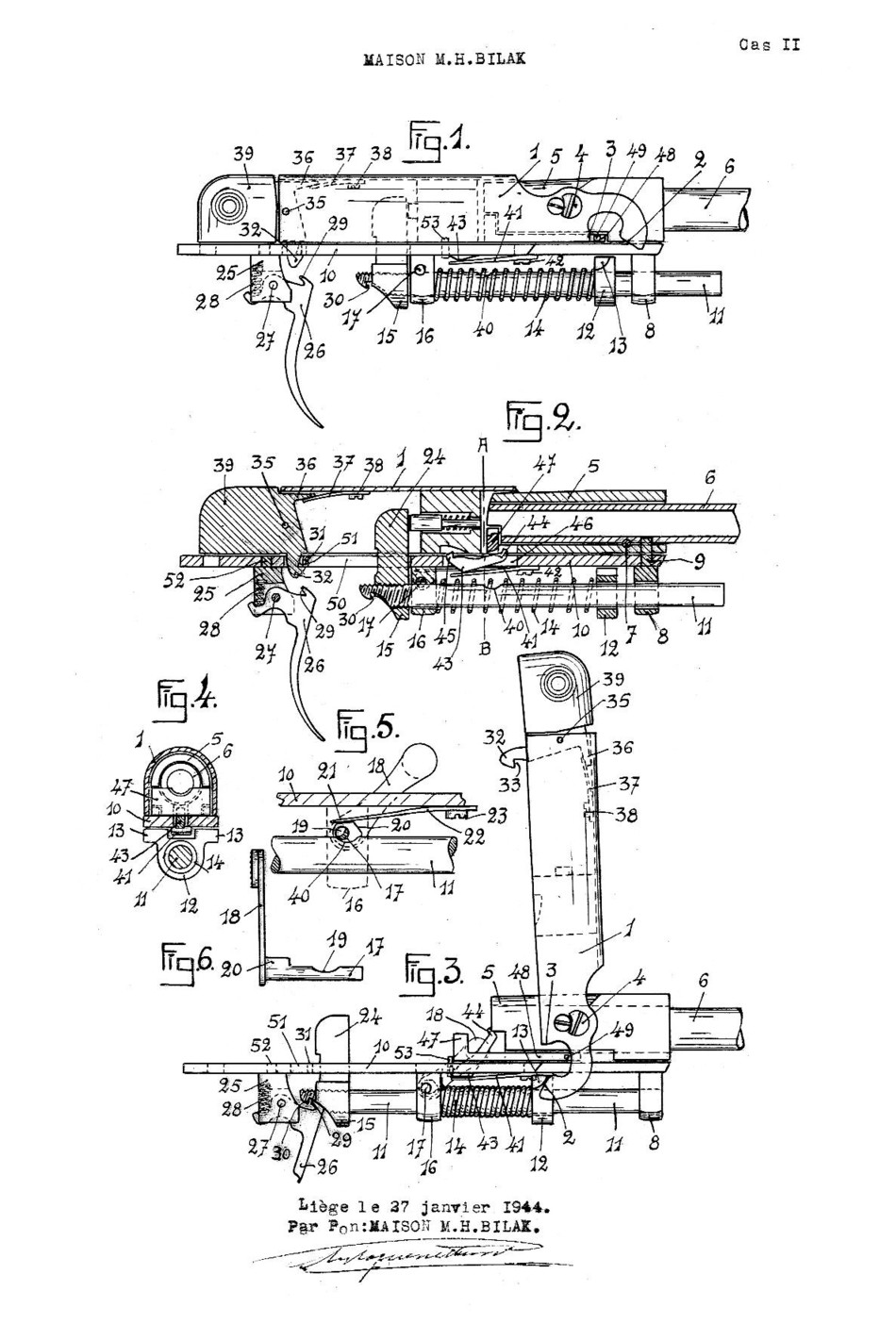
Hammerless MB, patents 1225 and 454138 (dated 27 January 1944), available in
6mm, .22 short or long, 9mm and .410.
Advertisement for Martin BILAK safety rifles

Naturalization document of Martin BILAK

Patent
454138 (dated 27 January 1944).

In conclusion, this nice rifle in 22 short caliber was produced by
Martin BILAK, tested in Liège, and put on the market from 1944.
Chris, HPH, GP, PHL, MD
"La Mondiale" Air Pistol (Liège)
(M. Willeme - 02 354 53 07)
La Mondiale
Trademark registered in Belgium on April 6, 1932, by Martin BILAK – Industrialist – Quai des Pêcheurs, 8, Liège.

Patent No. 410785 dated August 8, 1935






